


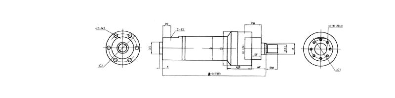
| 缸徑 |
速比 ψ |
桿徑mm |
KK1 |
A |
EE |
D2 |
D3 |
C1 |
C2 |
D |
D1 |
BF |
WF |
XF |
ZA |
X |
PL |
PM |
L0 |
n1-M1 |
n2-M2 |
| 40 |
1.46 |
22 |
M16×1.5 |
22 |
M18×1.5 |
48 |
20 |
42 |
66 |
54 |
80 |
19 |
32 |
69 |
190 |
8 |
26 |
44 |
12 |
8-M6 |
6-M8 |
| 50 |
1.46 |
28 |
M20×1.5 |
28 |
M18×1.5 |
55 |
30 |
50 |
75 |
63.5 |
90 |
24 |
38 |
86 |
205 |
8 |
18 |
61 |
12 |
8-M6 |
6-M8 |
| 63 |
1.46 |
36 |
M27×2 |
36 |
M27×2 |
70 |
38 |
60 |
90 |
76 |
108 |
29 |
45 |
79 |
224 |
8 |
25 |
52 |
12 |
8-M8 |
6-M10 |
| 80 |
1.46 |
45 |
M33×2 |
45 |
M27×2 |
86 |
55 |
75 |
112 |
95 |
134 |
36 |
54 |
78 |
250 |
10 |
36 |
58 |
13 |
8-M10 |
6-M12 |
| 90 |
1.46 |
56 |
M42×2 |
56 |
M27×2 |
100 |
55 |
80 |
132 |
108 |
158 |
36 |
55 |
89 |
270 |
10 |
43 |
63 |
17 |
8-M12 |
6-M16 |
| 100 |
1.46 |
56 |
M42×2 |
56 |
M33×2 |
118 |
68 |
95 |
150 |
121 |
175 |
37 |
57 |
95 |
300 |
10 |
47 |
69 |
18 |
8-M12 |
8-M16 |
| 110 |
1.46 |
63 |
M48×2 |
63 |
M33×2 |
132 |
60 |
95 |
165 |
133 |
195 |
37 |
57 |
101 |
310 |
10 |
50 |
73 |
22 |
8-M16 |
8-M16 |
| 125 |
1.46 |
63 |
M48×2 |
63 |
M33×2 |
150 |
80 |
115 |
184 |
152 |
212 |
37 |
60 |
113 |
325 |
10 |
50 |
85 |
22 |
8-M16 |
8-M16 |
| 140 |
1.46 |
63 |
M48×2 |
63 |
M42×2 |
165 |
95 |
132 |
200 |
168 |
230 |
37 |
62 |
109 |
335 |
10 |
53 |
74 |
22 |
8-M16 |
8-M16 |
| 150 |
1.46 |
85 |
M64×3 |
85 |
M42×2 |
175 |
95 |
140 |
215 |
180 |
245 |
41 |
64 |
117 |
350 |
10 |
54 |
85 |
22 |
8-M16 |
8-M16 |
| 160 |
1.46 |
85 |
M64×3 |
85 |
M42×2 |
190 |
105 |
150 |
230 |
194 |
265 |
41 |
66 |
133 |
370 |
10 |
59 |
91 |
26 |
8-M20 |
8-M20 |
| 180 |
1.46 |
95 |
M80×3 |
95 |
M48×2 |
200 |
110 |
160 |
250 |
219 |
280 |
41 |
70 |
147 |
410 |
15 |
65 |
98 |
27 |
8-M20 |
8-M20 |
| 200 |
1.46 2 |
95 112 |
M80×3 |
95 112 |
M48×2 |
215 |
120 |
170 |
280 |
245 |
310 |
45 |
75 |
169 |
450 |
15 |
65 |
115 |
27 |
8-M20 |
8-M20 |
| 220 |
1.46 2 |
112 112 |
M100×3 |
112 112 |
M48×2 |
240 |
140 |
200 |
310 |
273 |
340 |
45 |
80 |
178 |
490 |
20 |
75 |
123 |
36 |
8-M24 |
12-M20 |
| 250 |
1.46 2 |
112 125 |
M100×3 |
112 125 |
φ40 |
280 |
160 |
220 |
340 |
299 |
380 |
64 |
96 |
208 |
550 |
25 |
80 |
145 |
36 |
8-M24 |
12-M24 |
| 280 |
1.46 2 |
125 125 |
M125×4 |
125 125 |
φ40 |
300 |
180 |
240 |
370 |
325 |
410 |
64 |
100 |
236 |
600 |
30 |
80 |
162 |
36 |
8-M24 |
12-M24 |
| 320 |
1.46 2 |
125 160 |
M125×4 |
125 160 |
φ40 |
360 |
200 |
310 |
430 |
377 |
470 |
71 |
108 |
270 |
660 |
35 |
80 |
180 |
36 |
8-M24 |
16-M24 |